一、YZ11X支管減壓閥--用途及結構特點
YZ11X支管減壓閥是直接作用式薄膜彈簧減壓閥,是在吸取了國外同類產品優點的基礎上設計制造的。主要由膜片、磴形閥瓣、調節彈簧等零件組成。利用膜片傳感下游壓力變化驅動閥瓣,改變和控制閥門開度實現減壓穩壓功能。由調定調節彈簧壓力設定出口壓力值。支管減壓閥適當加大了膜片面積,提高了靈敏度。減壓穩壓平穩、靈敏。支管減壓閥適用于高層建筑公寓樓和住宅區的支線管路以及公寓、住宅的入戶支管使用。
二、YZ11X支管減壓閥--主要技術參數和性能指標
公稱壓力(Mpa) | 1.0 | 1.6 |
殼體試驗壓力(Mpa)* | 1.5 | 2.4 |
密封試驗壓力(Mpa) | 1.0 | 1.6 |
最高進口壓力(Mpa) | 1.0 | 1.6 |
出口壓力范圍(Mpa) | 0.05-0.55 | 0.05-0.8 |
壓力特性偏差(Mpa)△P2P | GB12244-1989 |
流量特性偏差(Mpa)△P2G | GB12244-1989 |
滲漏量 | 0 |
工作溫度 | 0℃-80℃ |

三、YZ11X支管減壓閥--主要零件材料
零件名稱 | 零件材料 |
閥體 | 銅合金 |
閥蓋 | 銅合金 |
閥瓣 | 銅合金 |
O型圈 | 丁腈橡膠 |
密封圈 | 丁腈橡膠 |
膜片 | 夾織物丁腈橡膠 |
調節彈簧 | 60Si2Mn |
調節螺栓 | 2Cr13 |
四、YZ11X支管減壓閥--流量系數(Cv)
DN | 15(1/2") | 20(3/4") | 25(1") | 32(1-1/4") | 40(1-1/2") | 50(2") |
Cv | 1 | 2 | 3 | 5 | 8 | 14 |
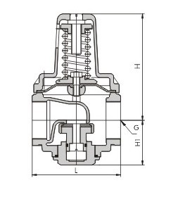
五、YZ11X支管減壓閥--連接尺寸
DN | G | L | H | H |
P2*≤0.55MPa | P2*≤0.8MPa |
15(1/2") | G1/2" | 65 | 75 | 90 | 35 |
20(3/4") | G3-4" | 75 | 85 | 100 | 35 |
25(1") | G1" | 90 | 3 | 115 | 46 |
32(1-1/4") | G1-1/4" | 105 | 130 | 150 | 55 |
40(1-1/2") | G1-1/2" | 120 | 155 | 175 | 65 |
50(2") | G2" | 140 | 175 | 195 | 75 |

上兆閥門其他產品:
閘 閥 截止閥 球 閥 蝶 閥 緊急切斷閥 電磁閥 水力控制閥 止回閥 刀型閘閥 旋塞閥 過濾器 減壓閥 疏水閥 隔膜閥 調節閥 阻火器 呼吸閥 燃氣閥門 冶金閥門